Toyota patenkan transmisi manual di mobil listrik. Saat ini sepertinya memang belum ada mobil listrik yang bertrtansmisi manual.
Karena umunya penggunaan transmisi kini didominasi oleh matic. Bukan tanpa sebab, karena mobil bertransmisi otomatis dinilai lebih praktis ketimbang transmisi manual.
Apa lagi untuk buat konsumen di wilayah perkotaan yang sering dilanda kemacetan. Pakai mobil matik, pengemudi tidak perlu lagi menekan pedal kopling ketika berpindah gigi atau sedang merayap di tengah padatnya lalu lintas.
Maka dari itu sebuah langkah yang melawan arus jika saat ini Toyota sedang menyiapkan sebuah mobik listrik yang bertransmisi matik. Apa lagi saat ini belum banyak mobil listrik yang mengaplikasi teknologi trnsmisi manual pada mobil listrik.
Pendaftaran paten transmisi manual untuk mobil listrik itu dilakukan Toyota di Amerika Serikat pada 23 Juni 2021 dan resmi mendapatkan hak perlindungan sejak 10 Februari 2022.
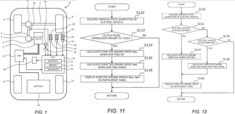
Lantas seperti apa ya transmisi mobil manual ala Toyota Tersebut ?
Dikatakan Toyota dalam laman drive.com.au, alasan diajukannya paten transmisi manual tersebut adalah untuk menciptakan pengalaman mengendarai mobil manual bagi para penggemarnya.
Dikatakan laman tersebut cara kerja sistem transmisi manual hasil buatan Toyota adalah sebuah teknik untuk menghasilkan perubahan pergeseran semu dalam kendaraan yang mentransmisikan torsi ke roda dari motor penggerak.
Dalam pengoperasiannya, dibutuhkan piranti khusus yang bernama Pseudo-shifter dan Pseudo-clutch sebagai pengganti persneling untuk menggerakkan gigi.
Teknologi ini juga dimaksudkan untuk dapat mengontrol torsi tegangan dan medan magnet. Dengan demikian, perasaan tidak nyaman yang diberikan kepada pengemudi yang terbiasa dengan kendaraan yang dilengkapi dengan transmisi bertahap dapat ditekan.
Belum Diproduksi Massal

Adanya pengajuan kekayaan intelektual dan paten tidak menjamin desain atau teknologi belum tentu akan masuk ke jalur produksi. Namun, dokumen tersebut menunjukkan Toyota sedang menjajaki kemungkinan aplikasi yang lebih luas.
Apalagi, beberapa jumlah kecil mobil listrik sebelumnya telah dilengkapi dengan transmisi manual. Ini termasuk Opel Manta GSe Elektromod, konsep Ford Mustang Lithium, dan Jeep Wrangler Magneto.
Tak hanya mobil yang berstatus konsep saja, ada juga perusahaan jasa restomod dengan elektrifikasi yang menggunakan transmisi manual, meski mobil sudah sepenuhnya mendapat asupan tenaga dari baterai dan motor listrik. Contohnya itu adalah Porsche 356 besutan Electrogenic, rumah modifikasi asal Inggris.
Saat ini, ada dua 2 merek yang sudah memproduksi massal yang menghadirkan pilihan transmisi manual pada mobil listriknya, yakni Porsche dengan Taycan, dan Audi dengan E-Tron GT.
Penggunaan transmisi tiga pedal di mobil listrik bisa jadi digunakan untuk lini produk dengan kebutuhan balap, atau lini produk massal yang hadir khusus untuk performa tinggi.
Demikian ulasan terkait Toyota patenkan transmisi manual di mobil listrik. Simak terus Moladin.com untuk update berita terbaru otomotif.